夹套型玻璃板液位计

一、仪表概述:
夹套型玻璃板液位计可用来直接指示密封容器中的液位高度,具有结构简单,直观可靠,经久耐用等优点,但容器中的介绍必须是与钢、钢纸及石墨压环不起腐蚀作用的。液位计主要由上阀门,下阀门,表体,玻璃板,盖板,排污阀等几大部分组成。经改进,液面计进出口两端可以不再加装其它阀门,即可不停炉拆下中间指示器进行清洗,可在液面计下部增设排污阀,以便能及时冲洗和排污。
二、测量原理:
玻璃板液位计是基于连通器原理设计的,由玻璃板及液位计主体构成的液体通路是经接管用法兰或锥管螺纹与被测容器连接构成连通器,透过玻璃板观察到的液面与容器内的液面相同即液位高度。 液位计两端的针型阀不仅起截止阀的作用,其内部的钢球具有逆止阀的功能,当液位计发生意外破损泄漏时,钢球可在介质压力作用下自动关闭液体通道,防止液体大量外流起到安全保护作用。液位计改变零件的材料或增加一些附属部件即可达到防腐、保温、防霜、照明等功能。
三、适用场合:
夹套型玻璃板液位计用来直接指示承压容器和敞口容器中的液位高度,**用于石油、化工、电力、冶金等领域,特别适用重油、渣油和纯氨大贮罐的液位精确指示。
四、性能特点:
1、显示清晰、无盲区、无间断、连续指示;
2、不渗漏,不堵塞;
3、维护方便。
五、技术指标:
1、测量范围: 300、500、800、1100、1400、1700……mm ;
2、工作压力: 6.3MPa;
3、工作温度: ≤200℃;
4、阀门自动封闭压力差:0.2MPa ;
5、蒸汽夹套接头:G1/2″外螺纹;
6、过程连接: ZW-UWB型连接螺纹:外螺纹G3/4″或M27×1.5;
7、连接法兰:HG20592~20635-97DN20~DIN)请用户任订货时注明;
8、接液材质:耐热碳素钢;不锈钢。
六、液位计分类及使用范围如下:
1、伴热型玻璃板液位计:主要用于被测介质需要保温的场合;
2、防霜型玻璃板液位计:主要用于被测介质操作温度为-196~0℃,玻璃易结霜的场合;
3、无盲区型玻璃板液位计:主要用于需要连续观测,可视范围内不允许有盲区的场合;
4、双色型玻璃板液位计:主要用于介质为无色透明液体,不易观测液位的场合;
5、防紫外线型玻璃板液位计:主要用于被测介质怕紫外线照光的场合;
6、宽液室型玻璃板液位计:主要用于被测介质黏度比较大或者是要求仪表的容积比较大的场合;
7、照明型玻璃板液位计:主要用于夜间需要观测的场合。
七、玻璃板液位计与玻璃管液位计的区别:
液位计是一种常用的流量测量仪器,在多个行业中都有一定的应用。液位计的种类是非常多的,其中玻璃管液位计和玻璃板液位计都是常用的类型,大家对于两者之间的区别都了解过吗?今天小编就来为大家具体介绍一下玻璃管液位计与玻璃板液位计的区别吧,希望可以帮助到大家。
玻璃管液位计:
玻璃管液位计根据使用要求可有各种形式,要求不高的可以因陋就简自制,精密容器的液位可用较平直光滑和粗的玻璃管(使毛细现象减小)加上较精密的游标刻度尺来读数。
在与容器连通的玻璃管中安有浮动磁钢(又称浮子)1,在玻璃管外面上下端各装以干簧继电器2,如这样,当浮子接近千簧继电器时,继电器产生开关动作,就可以对液位的上下限进行控制或报警。
玻璃管液位计适用于较低压力的、敞口或密封容器液位的直接指示。
玻璃板液位计:
它的结构为在厚实的钢化玻璃板1上开以细槽,下端用金属管2与容器被测液体相连,上端用金属管3与容器液面上空问相连,与容器相连处装有阀4,以便操作。
玻璃板液位计能耐较高的压力(可达40公斤力/平方厘米),能测多种介质的液位(如水、弱碱、氨液、各种油品、丙铜、苯、异丙醉等),如果要测从较大量程的液位,如3-4米时,可以把好几段玻璃板连接起米,组成既有较大量程,又耐较高压力的玻璃板液位计。
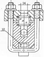
八、外型尺寸图:
1.针型阀 2.本体 3.压盖 4.衬垫 5. 玻璃板 6.螺母 7.垫片 8.U型螺栓 9.螺柱 10.加热夹套
|
|
|
|
|
|
九、液位计的安装、使用与维护:
1、为了保证自动密超过计划作用,容器内的介质压力不得小于0.2MPa,在打开上下阀时,阀杆退出转数不少于4转(使钢球封门时,不致于碰到阀杆的**)。
2、使用中的仪表应定期检查。清洗玻璃板内外壁污垢,使液位显示清晰。
3、检修装配玻璃板在旋紧螺栓时,要密切注意玻璃板受力不均而破碎。因此,螺栓须严格按图示1、2、3┈┈┈10、11、12顺序交叉地分多次夹紧玻璃板。
十、使用注意事项:
对于玻璃板液位计的保养,有这么几个重点是需要注意的。
1、常操作使用的时候需留意液位计的外表是否有污渍或漏液,如有污渍或残留液体没有及时清理的话,容易对液位计本体产生腐蚀,也会影响到液位测量数据的读取。
2、介质温度比较高时,保养的时候需要注意,在每次保养结束的时候切记不要阀门全开,要慢慢的让介质流入测量管,防止测量管因温差过大而导致破裂。
3、当容器内存在压力的时候,切记不要超压使用,一定要在规定范围内运行使用。
4、在对测量管进行清洗的时候需注意使用适当的清洁剂,用长杆毛刷上下清洗,去除管内污垢。
5、定期打开排污阀对玻璃板液位计的测量管内部积留的污渍进行排放。
十一、选型一览表:
|
-UWB |
玻璃板液位计 |
|||||||
|
|
1 |
透光式,一般用于无色透明的液体,光线较好的场合 |
基本类型 |
|||||
|
2 |
透光式带蒸汽夹套,用于粘稠、易冻的液体介质 |
|||||||
|
3 |
反射式,一秀般用于稍有色泽的液体,且光线较好的场合 |
|||||||
|
4 |
反射式带蒸汽夹套,用于粘稠、易冻的液体介质 |
|||||||
|
5 |
防霜式,用于低温场合 |
|||||||
|
6 |
照明式,用于光线较差的场合 |
|||||||
|
|
G |
改进型,对ZW-UWB为法兰连接 |
安装形式 |
|||||
|
|
A |
碳钢 |
主体材质 |
|||||
|
B |
1Cr18Ni9Ti或304SS |
|||||||
|
|
|
C |
316SS或316L |
|||||
|
|
|
|
1 |
300mm |
4 |
1100mm |
测量范围 |
|
|
|
|
|
2 |
500mm |
5 |
1400mm |
||
|
|
|
|
3 |
800mm |
6 |
1700mm |
||
十二、订货时请提供下列参数:
1、型号规格;
2、被测介质名称:介质密度:如果不知道密度,可以告诉我们介质的名称,混合液体要知道由哪几种液体组成;
3、仪表测量范围:也可称为公称长度,也就是两个法兰的中心距离;
4、工作压力:zui高承受压力;
5、工作温度:测量液体的zui低、zui高温度;
6、材质要求:接液材质,如不知道用哪种材质,可以向我们咨询(一般装液体的是什么材质我们就可以用什么材质);
7、是否配套供应法兰、螺栓、螺母、阀门、密封垫圈等配件;
8、法兰标准:法兰的公称通径,使用zui多的法兰是DN20或DN25;
9、特殊要求:请在订货前详细注明,如是否要带远传、保温夹套等等。
跟此产品相关的产品 / Related Products
电话:0517-80218857
邮箱:1148173107@qq.com
地址:淮安市金湖县塔集镇闵桥工业集中区158号








